粤ICP备11076303号
广州青年志愿者协会医疗服务总队 www.gzyld.org.cn
首页
总队动态
义工技能
医疗教学
公益纪实
疾病诊疗
互助论坛
总队相册
医疗队新站
教学软件
教学文档
医学图库
教学多媒体
认识常见病
医事连载
网络资源
医疗制度
位置:
GZ医疗队
>
医疗教学
>
教学文档
>
网络资源
>
正常大脑的CT
来源:未知 作者:seagull8111 点击:次 时间:2013-02-27
照片描述:颅底蝶鞍层面
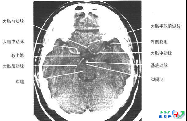
照片描述:鞍上池层面(平扫)
照片描述:鞍上池层面(增强)
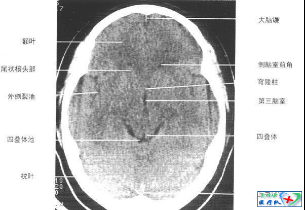
照片描述:第三脑室下部层面
照片描述:大脑皮质下部层面
照片描述:侧脑室上部层面
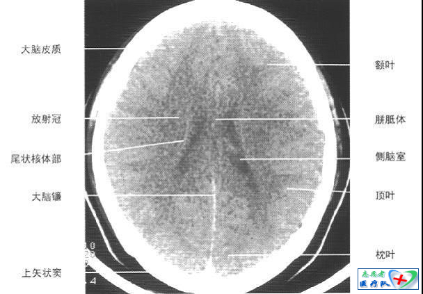
照片描述:侧脑室体部层面
照片描述:第三脑室上部层面
照片描述:大脑皮质上部层面
上一篇:
看了它你就懂看和处理常见心电图ok
下一篇:
执业医师资格考试经验(适用于复习时间短的考生)
热门文章
护理病历范文
怎样看椎间盘CT/MRI 片
02 頭部CT 的解剖 Anatomy
ICU护理常规
01 CT 的簡介 Introduction
手术室一般护理常规
相关资讯
21位各科医生的经验总结,
药学知识
真空采血管的分类及不同颜
护理查房100问
妊娠期抗生素选用指南(转)
推荐文档
力量训练动态3D图解
考研需要了解的潜规则
头部CT的读解
颈部脊椎X光的判读
好医生继续教育中心
人体解剖学精品课程
区域地图
教学软件
教学文档
医学图库
教学多媒体
认识常见病
医事连载
网络资源
医疗制度
自助功能
评论
搜索
阅读
活动
队员
求助
最 新 4 条 评 论
我 来 说 上 两 句 :【查看所有评论】
新活动
回顶部